
Hazır etriye demir ile İnşaat projelerinde taşıyıcı sistemin güçlendirilmesi, deprem dayanımının artırılması ve donatı bütünlüğünün sağlanması için kullanılan en önemli elemanlardan biri etriyedir. Klasik yöntemlerle şantiyede yapılan etriye üretimi hem zaman alıcıdır hem de işçilik hatalarına açıktır. Bu nedenle modern inşaat sektöründe hazır etriye kullanımı büyük ölçüde artmış, özellikle seri imalat gerektiren projelerde standart hâline gelmiştir.
Hazır etriye, fabrika ortamında CNC makineleriyle tam ölçüsünde üretilen, projeye uygun olarak şekillendirilmiş ve paketlenmiş donatı elemanlarıdır. Bu makalede hazır etriyenin özelliklerini, avantajlarını, kullanım alanlarını ve fiyatlara etki eden faktörleri detaylı şekilde ele alıyoruz.

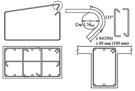
Hazır etriye demir, inşaat demiri çubuklarının proje planında belirtilen ölçülere göre önceden kesilip bükülmüş hâlidir. Genellikle nervürlü demirden üretilen hazır etriyeler, kolon ve kirişlerde ana donatı demirlerini sarmalayarak bindirme, kayma ve burulma dayanımını artırır. Standart üretim yerine özel ölçülerde hazırlanması sayesinde şantiyelerde hız ve düzen sağlar.
Hazır etriyeler genellikle:
8 mm – 10 mm – 12 mm çapında
Kare, dikdörtgen, dairesel veya özel formda
Projeye göre farklı kenar uzunluklarında
üretilir.
Projeye göre farklı tiplerde hazır etriye üretilebilir. En yaygın çeşitler:

Standart etriye, betonarme yapıların kolon ve kirişlerinde kullanılan, taşıyıcı demirleri saran ve yapı elemanlarının dayanımını artıran temel bir donatı elemanıdır. Genellikle kare, dikdörtgen veya yuvarlak formda üretilen standart etriyeler, betonarme eleman içindeki nervürlü demirlerin stabil kalmasını sağlar ve deprem gibi yatay kuvvetlere karşı ek dayanım oluşturur.
Standart etriyeler, demir donatının burkulmasını engelleyerek kolon ve kirişlerin yük taşıma kapasitesini artırır. Ayrıca betonun çatlama riskini azaltır ve yapının uzun ömürlü olmasına önemli katkı sağlar. İnşaat sektöründe en çok tercih edilen etriye tipi olan standart etriye, projeye özel ölçülerde hazırlanabildiği için işçilik hızını artırır ve montaj sürecini kolaylaştırır.
Sağlamlık, güvenlik ve ekonomiklik açısından betonarme sistemlerin vazgeçilmez bir parçası olan standart etriye, modern yapı tekniklerinin temel bileşenlerinden biridir.

Tek dereceli etriye, betonarme yapıların kolon ve kirişlerinde kullanılan, tek açıyla bükülmüş ve standart formda hazırlanan bir donatı elemanıdır. Özellikle taşıyıcı sistemlerde ana donatı çubuklarını sabitlemek, kesme kuvvetine karşı dayanımı artırmak ve betonarme elemanın bütünlüğünü korumak amacıyla tercih edilir. Tek dereceli etriye, üretim kolaylığı ve pratik uygulama avantajı sayesinde inşaat sektöründe sıkça kullanılmaktadır.
Hazır olarak üretilen tek dereceli etriyeler, hem şantiyede işçilik yükünü azaltır hem de montaj sürecini hızlandırır. Deprem yönetmeliklerine uygun donatı düzeninin sağlanmasında önemli rol oynayan bu ürün, kolon ve kirişlerde düzenli aralıklarla kullanılarak yapının stabilitesini artırır. Standart ölçüde ve doğru açıda üretilmesi, betonarme elemanlarda maksimum dayanım elde edilmesine katkı sağlar.

İki dereceli etriye, betonarme yapı elemanlarında taşıyıcı donatıyı sabitlemek ve kesme kuvvetine karşı dayanımı artırmak için kullanılan, iki farklı açıyla bükülmüş özel bir etriye türüdür. Standart tek dereceli etriyeye göre daha güçlü bir kavrama sağlar ve özellikle deprem yüklerinin yoğun olduğu bölgelerde tercih edilir. Farklı açılarda bükülmesi sayesinde kolon ve kirişlerde donatı bütünlüğünü daha etkili bir şekilde destekler.
Hazır üretilen iki dereceli etriyeler, CNC makinelerinde milimetrik hassasiyetle şekillendirilir ve projeye uygun ölçülerde hazırlanır. Bu sayede hem işçilik hataları azalır hem de montaj hızlanır. Yapının stabilitesini artıran iki dereceli etriye, modern betonarme projelerde güvenliği ve dayanıklılığı üst seviyeye taşır. Endüstriyel tesisler, konut projeleri ve yüksek dayanım gerektiren tüm taşıyıcı sistemlerde yaygın olarak kullanılır.

Çember etriye, betonarme kolon ve perde duvar gibi dairesel ya da yuvarlak kesitli elemanlarda kullanılan, yuvarlak formda üretilmiş bir etriye çeşididir. Standart kare veya dikdörtgen etriyelere göre farklı olarak tam dairesel yapıya sahip olan çember etriye, özellikle sismik dayanımı yüksek projelerde tercih edilir.
Çember etriyeler, kolon donatısını tüm yüzey boyunca eşit şekilde sararak betonun homojen dağılmasını ve taşıyıcı demirlerin burkulma riskinin minimuma inmesini sağlar. Bu özellik, yüksek dayanım gerektiren mühendislik yapılarında önemli bir avantaj sunar. Köprü ayakları, silindirik kolonlar, endüstriyel yapılar ve altyapı projeleri çember etriyenin en yaygın kullanım alanları arasındadır.
Projeye özel ölçülerde üretilebilen çember etriyeler, montaj kolaylığı ve yüksek mukavemet sunarak işçilik verimliliğini artırır. Deprem yönetmeliğine uygun, güvenli ve sağlam betonarme sistemler oluşturmak için çember etriye kullanımının kritik rolü büyüktür.

Spiral etriye, betonarme kolon ve perde elemanlarda boyuna donatıyı sürekli ve helisel bir şekilde saran, kesintisiz formda üretilen etriye türüdür. Helis şeklindeki bu yapı sayesinde taşıyıcı elemanın tüm çevresi boyunca eşit basınç ve kenetlenme etkisi oluşturur. Bu da kolonun sünekliğini artırarak özellikle deprem bölgesindeki yapılarda yüksek performans sağlar.
Spiral etriyeler, sık aralıklarla sarıldığı için burkulmayı önler, betonun homojen şekilde yerleşmesine yardımcı olur ve yapısal dayanımı önemli ölçüde yükseltir. Köprü ayakları, yüksek katlı bina kolonları, endüstriyel yapılar ve silindirik taşıyıcı sistemlerde yaygın olarak tercih edilir.
Projeye özel çap ve sıkılıkta üretilebilen spiral etriyeler, hem montaj süresini kısaltır hem de hata payını azaltarak daha güvenli bir betonarme sistem oluşturur. Deprem yönetmeliklerinin öngördüğü sünek kolon tasarımlarında spiral etriye kullanımı, modern inşaat mühendisliğinin vazgeçilmez çözümlerinden biri haline gelmiştir.
Etriye, betonarme taşıyıcı sistemlerin dayanımında kritik rol oynar. Hazır olarak temin edilmesi ise bu önemi daha da ileri taşır.
1. Taşıyıcı Elemanlarda Birleşim Gücü Sağlar
Kolon ve kirişlerde ana taşıyıcı donatının stabil kalmasını sağlayarak kesme kuvvetlerine karşı sistemi güçlendirir.
2. Deprem Dayanımını Artırır
Etriye aralıklarının doğru yerleştirilmesi ve standartlara uygun büküm yapılması, deprem etkilerine karşı yapının dayanıklı olmasını sağlar.
3. Donatı Düzenini Standartlaştırır
Her bir etriyenin aynı ölçüde olması, betonarme donatı bütünlüğü açısından büyük avantaj sağlar.
Hazır etriye, şantiyede üretim zorluklarını ortadan kaldırarak pek çok avantaj sunar.
1. Şantiyede Hızlı Montaj
Fabrikasyon üretim sayesinde kesim ve şekillendirme işlemleri şantiyede yapılmaz. Tüm etriyeler kullanıma hazır geldiği için montaj ciddi anlamda hızlanır.
2. İşçilikten Tasarruf
Etriye bükme işlemleri zaman alan ve iş yükü yaratan bir süreçtir. Hazır etriye kullanıldığında işçilik maliyetleri %30–40 oranında azalabilir.
3. Fireyi Minimuma Düşürür
Şantiyede yapılan etriye üretiminde kesim hataları fireye neden olur. Hazır etriyede milimetrik ölçü ile üretim yapıldığından fire neredeyse yoktur.
4. Standarda Uygun ve Hatasız Üretim
CNC makineleri sayesinde tüm etriyeler aynı ölçü, açı ve büküm hassasiyetine sahiptir. Bu da yapının dayanımını artırır.
5. Depolama ve Düzen Kolaylığı
Aynı ölçüde üretilip paketlendiği için stok yönetimi ve şantiye düzeni çok daha verimlidir.
6. Proje Teslim Süresini Kısaltır
Hazır gelen donatı elemanları sayesinde uygulama süresi hızlanır, bu da özellikle büyük konut projelerinde önemli bir avantaj sağlar.
Hazır etriye üretimi yüksek hassasiyet gerektirir. Üretim aşamaları aşağıdaki gibidir:
1. Proje Ölçülerinin Analizi
Müşteriden gelen etriye listesi, plan çizimleri ve metraj bilgileri analiz edilir. Üretilecek her bir ölçü netleştirilir.
2. Malzeme Seçimi
Genellikle S420 ve S500 sınıfı nervürlü demir kullanılır. Çap seçimi proje gereksinimine göre belirlenir.
3. CNC Büküm Makinesi ile Şekillendirme
Demir çubuklar otomatik makinelerde projedeki ölçülerle birebir olacak şekilde kesilip bükülür.
4. Kontrol ve Paketleme
Her bir ölçü grubu ayrı paketlenir, etiketlenir ve sevkiyata hazır hâle getirilir.
Hazır etriye, her tür betonarme yapıda tercih edilir. Özellikle:
Konut projeleri
Rezidans ve ticari yapılar
Altyapı projeleri (kanal, tünel, köprü vb.)
Prefabrik betonarme elemanlar
Endüstriyel tesisler
Daire kesitli yapı elemanları
Hastane, okul, kamu binaları
gibi birçok alanda hazır etriye kullanımı hem hız hem kalite sağlar.
Ayrıca tüm hazır demir çelik ürünlerimizi görmek isterseniz HAZIR DEMİR sayfamızı ziyaret edebilirsiniz.
Hazır etriye fiyatları standart inşaat demirinden farklı olarak birkaç değişkene göre hesaplanır:
1. Kullanılan Demirin Çapı ve Kalitesi
8 mm, 10 mm ve 12 mm çapları farklı fiyatlandırılır.
2. Etriyenin Ölçüsü ve Formu
Küçük ölçülü etriyeler ile büyük ölçülü dikdörtgen etriyelerin maliyeti farklıdır.
3. Büküm İşçiliği
Büküm sayısı, açıları ve formun karmaşıklığı fiyatı etkiler.
4. Sipariş Miktarı
Toplu alımlarda birim maliyet düşer.
5. Güncel Demir Fiyatları
Günlük piyasa fiyatları direkt olarak etriye fiyatına yansır.
Bu nedenle hazır etriye genellikle adet, kilogram veya özel üretim metrajına göre tekliflendirilir.
Hazır etriye, yalnızca pratiklik sağlamakla kalmaz, aynı zamanda inşaat sektörünün verimliliğini doğrudan artırır.
Şantiyeler daha düzenli çalışır.
Uygulamada standartlaşma sağlanır.
Donatı yerleşimindeki hatalar azalır.
Beton döküm süreci hızlanır.
Proje teslim süresi önemli ölçüde kısalır.
Bu nedenle günümüzde hemen hemen tüm profesyonel inşaat firmaları hazır etriye kullanımına geçmektedir.
Bu sitedeki içerikler May Çelik güvencesi ile sağlanmaktadır.


Nervürlü inşaat demiri alanında güvenilir çözümler sunan firmamız, kaliteli ürünleri uygun fiyatlarla buluşturarak projelerinize güç, dayanıklılık ve uzun ömür katmayı hedefler.
Orta Mah. Alparslan Sk. Yek Tower Plaza Kartal İSTANBUL